小姐联系信息大全,全国同城空降快餐群,全国纯出大圈女孩招聘,qq上300块4小时不限次数

您当前的位置:FAG轴承 >> 轴承产品中心 >> FAG轴承29338-E1

FAG 29338-E1轴承

       我公司专业销售FAG 29338-E1,能为客户提供样本图纸,轴承29338-E1的品牌的推力调心滚子轴承,需要此轴承内外圈、内外径、厚度结构等资料请联系销售人员!咨询电话:0512-62658883
       我公司还销售相关轴承:293/750-E-MB轴承  FAG轴承29324-E1  FAG 29326-E1  29344-E轴承  FAG轴承29328-E1  FAG 29318-E1  29330-E1轴承  FAG轴承29368-E-MB  

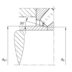
推力调心滚子轴承 29338-E1

根据 DIN 728/ISO 104 标准的主要尺寸,单向,可分离

推力调心滚子轴承 29338-E1, 根据 DIN 728/ISO 104 标准的主要尺寸,单向,可分离
径向载荷单向轴向载荷静转角误差和不对中动转角误差和不对中无密封脂润滑油润滑
推力调心滚子轴承 29338-E1, 根据 DIN 728/ISO 104 标准的主要尺寸,单向,可分离
推力调心滚子轴承 29338-E1, 根据 DIN 728/ISO 104 标准的主要尺寸,单向,可分离
 
d 190  mm 
   
D 320  mm 
   
T 78  mm 
   
 
A 110  mm 
   
D1 243,5  mm 
   
Da max 281  mm 
   
Db min 325  mm 
   
d1 290,1  mm 
   
da min 250  mm 
   
db max 201  mm 
   
db1 max 211  mm 
   
ra max 3  mm 
   
rmin 4  mm 
   
T1 36  mm 
   
T3 49  mm 
   
T5 70  mm 
   
 
m 22,3  kg 
  质量
Ca 1680000  N 
  基本额定动载荷,轴向
C0a 4850000  N 
  基本额定静载荷,轴向
nG 1500  1/min 
  极限转速
nB 1090  1/min 
  参考速度
Cua 580000  N 
  疲劳极限载荷,轴向
 
       此轴承还可以用于:混凝土机械  手术专用设备  炼化设备  杀菌机  喷砂设备  钻采设备  湿式冷却塔  单梁起重机  消防泵  卷板机床  石油设备  包装设备  化工设备配件  压实机械  耐腐蚀泵  化工成套设备  塑料混色机  涂装机  化工成型设备  切断机  
       推荐型号:29338-E1轴承  FAG 24196-B-K30-MB+AH24196  FAG RASE50-N  FAG EGB13060-E40  FAG 31311-A-N11CA-A80-120  FAG CSXC080  FAG GIR15-DO  FAG Z-566290.ZL-K-C3  FAG BCE1416  FAG GE1000-DW-2RS2  FAG RNA6914-ZW  FAG RME40-NFAG RASEA25-NFAG 32921FAG EGB1412-E40FAG NJ209-E-TVP2+HJ209EFAG BE25FAG CSEB065FAG RCJT55FAG RRY30-VAFAG HC7000-E-T-P4S
 
 
恩梯必传动设备(苏州)有限公司 ©2022 | FAG轴承_INA轴承